Product Summary
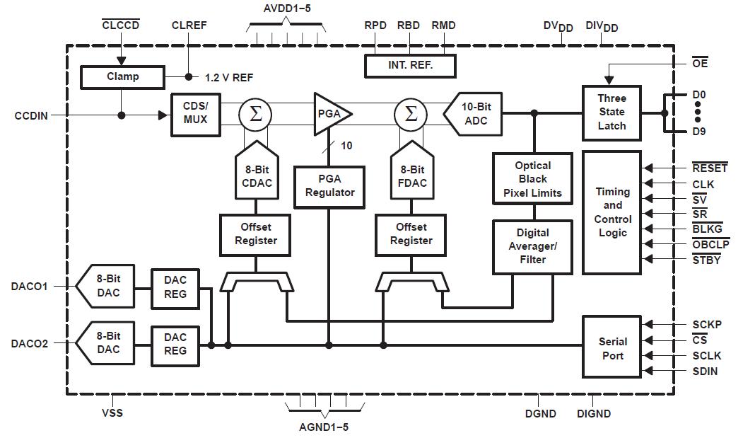
The TLV990-28PFB is a complete CCD signal processor/digitizer designed for digital still camera and PC camera applications. The TLV990-28PFB performs all the analog-processing functions necessary to maximize the dynamic range, corrects various errors associated with the CCD sensor, and then digitizes the results with an on-chip high-speed analog-to-digital converter (ADC). The key components of the TLV990-28PFB include: an input clamp circuit for CCD signal, a correlated double sampler (CDS), a programmable-gain amplifier (PGA) with 0 to 36-dB gain range, two internal digital-to-analog converters (DAC) for automatic or programmable optical black level and offset calibration, a 10-bit, 28-MSPS pipeline ADC, a parallel data port for easy microprocessor interface, a serial port for configuring internal control registers, two additional DACs for external system control, and internal reference voltages. The applications of the TLV990-28PFB include digital still camera, video camcorder.
Parametrics
TLV990-28PFB absolute maximum ratings: (1)Supply voltage, AVDD, DVDD, DIVDD: -0.3 V to 6.5 V; (2)Analog input voltage range: -0.3 V to AVDD+0.3 V; (3)Digital input voltage range: -0.3 V to DVDD+0.3 V; (4)Operating virtual junction temperature range, TJ: -40℃ to 150℃; (5)Operating free-air temperature range, TA: -20℃ to 75℃; (6)Storage temperature range, Tstg: -65℃ to 150℃; (7)Lead temperature 1,6 mm (1/16 inch) from case for 10 seconds: 260℃.
Features
TLV990-28PFB features: (1)Single-Chip CCD Analog Front-End; (2)10-Bit, 28-MSPS, Single 3-V Supply Operation A/D Converter; (3)Very Low Power: 150-mW Typical, 2-mW Power-Down Mode; (4)Differential Nonlinearity Error: < ±0.5 LSB Typical; (5)Integral Nonlinearity Error: < ±0.75 LSB Typical; (6)Programmable Gain Amplifier (PGA) With 0-dB to 36-dB Gain Range (0.045 dB/Step); (7)Automatic or Programmable Optical Black Level and Offset Calibration With Digital Filter and Bad Pixel Limits; (8)Additional DACs for External Analog Setting; (9)Serial Interface for Register Configuration; (10)Internal-Reference Voltages; (11)48-Pin TQFP Package.
Diagrams

| Image | Part No | Mfg | Description | ![]() |
Pricing (USD) |
Quantity | ||||||||||||
|---|---|---|---|---|---|---|---|---|---|---|---|---|---|---|---|---|---|---|
![]() |
![]() TLV990-28PFB |
![]() Texas Instruments |
![]() Video A/D Converter ICs 3-V 10-Bit 28-MSPS Area CCD |
![]() Data Sheet |
![]()
|
|
||||||||||||
![]() |
![]() TLV990-28PFBG4 |
![]() Texas Instruments |
![]() Video A/D Converter ICs 3-V 10-Bit 28-MSPS Area CCD |
![]() Data Sheet |
![]()
|
|
||||||||||||
(Hong Kong)









